首页
欢迎来到剑鱼标讯
0剑鱼标讯整合全国弱电领域招投标数据,制作以下市场分析简报。
一、简报说明
数据来源:剑鱼标讯
简报生成平台:剑鱼标讯大会员
行业简报关键词:弱电
数据范围:全国
时间范围:2025/07/01-2025/09/30
二、市场分析报告
1. 市场概况
根据剑鱼标讯统计,当前时间范围,全国弱电领域招投标项目成交总数为924个,环比上统计周期增长3.7%;中标总金额30.46亿,环比上统计周期下降47.7%;中标项目平均金额329.75万,环比上统计周期下降49.56%;
市场主体方面,本统计周期中标企业总数为801家,环比上统计周期下降1.6%;完成招标采购的采购单位总数730家,环比上统计周期增长1.25%。

2. 项目规模分布
当前时间范围,全国弱电领域招投标项目金额落在100万-500万的项目最多,占项目总量的28.95%。项目金额落在1000万-1亿的项目总金额最高,占总项目金额的50.59%。项目金额结构占比如下图:

项目金额≥1亿的项目数量为:2个;
项目金额1000万-1亿的项目数量为:63个;
项目金额500万-1000万的项目数量为:54个;
项目金额100万-500万的项目数量为:209个;
项目金额50万-100万的项目数量为:97个;
项目金额10万-50万的项目数量为:185个;
项目金额<10万的项目数量为:112个;
附本统计周期项目规模前10的项目名称,项目金额,成交时间以及相应中标单位信息:
1、浦江县江南片区医疗中心建设工程弱电及智能化工程,项目金额39997.25万元,2025-08-28成交;
2、中铁电气化局集团有限公司沈阳王家湾冰上运动中心项目场馆工程冰上综合馆弱电智能化及信息化工程,项目金额10166.41万元,2025-09-11成交, 中标单位是:联通数字科技有限公司(联合体牵头人)、沈阳东软系统集成工程有限公司;
3、松江区看守(拘留)所迁建工程弱电系统项目,项目金额7645.30万元,2025-09-12成交, 中标单位是:上海电信工程有限公司;
4、上海浦东国际机场四期扩建工程飞行区工程及航站区机坪工程民航弱电系统,项目金额7239.11万元,2025-09-25成交, 中标单位是:厦门兆翔智能科技有限公司;
5、上海浦东国际机场四期扩建工程飞行区工程及航站区机坪工程民航弱电系统,项目金额7239.11万元,2025-09-29成交, 中标单位是:厦门兆翔智能科技有限公司;
6、榆阳区小西沙棚户区改造A2片区榆阳区第二十一小学及第二十一中学建设项目室内精装修、弱电智能化采购及安装工程暂估价项目,项目金额5386.02万元,2025-09-09成交, 中标单位是:陕西大凡装饰设计有限公司;
7、启动区西部高中(D02-05-10地块)二期项目精装修工程及弱电智能化工程,项目金额4000.89万元,2025-09-04成交, 中标单位是:北京城建亚泰建设集团有限公司;
8、红河蒙自机场建设(民用部分)项目机场弱电系统工程,项目金额3639.20万元,2025-07-18成交, 中标单位是:厦门兆翔智能科技有限公司;
9、红河蒙自机场建设(民用部分)项目机场弱电系统工程,项目金额3639.20万元,2025-08-04成交, 中标单位是:厦门兆翔智能科技有限公司;
10、三亚国际免税城三期项目弱电智能化工程,项目金额3638.18万元,2025-07-29成交, 中标单位是:厦门万安智能有限公司;
3. 项目所在省份分布
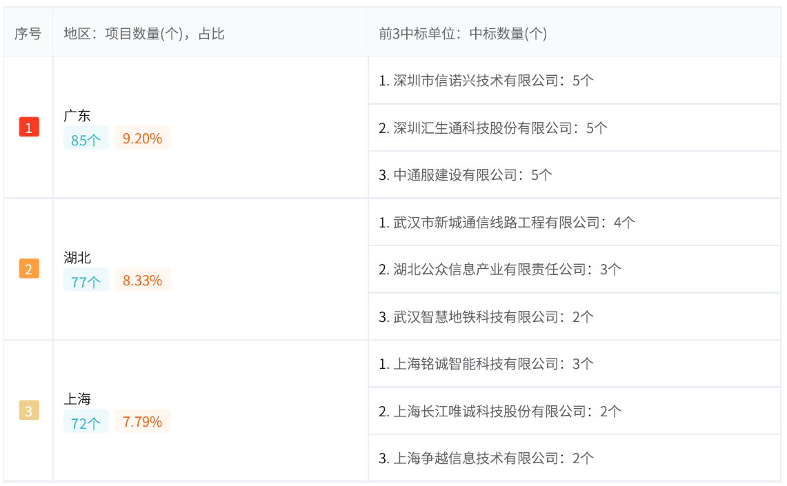
本统计周期,全国弱电领域招投标项目数量方面,广东、湖北、上海中标项目较多,分别达到85个、77个、72个,前3个省份占全国弱电领域项目数量的25.32%。

4. 项目所在城市分布
以广东为例:
本统计周期,广东弱电领域招投标项目数量方面,深圳市、广州市、珠海市中标项目较多,分别达到42个、15个、5个,前3个城市占广东弱电领域项目数量的72.94%。

项目数量TOP3地区的重点中标单位

5. 客户分布
本统计周期,全国弱电领域招投标项目中,建筑业以128个项目占据采购数量榜首,学校、医疗紧随其后,分别为87个、54个,前3类客户采购量占全部项目数量的29.11%。
各类客户采购项目数量分布如下图:

以上分析报表均来自【剑鱼标讯大会员】市场分析报告部分内容,更多分析报告内容还包括:
1、【全国】【弱电】项目规模 TOP10
2、【全国】【弱电】项目数量 TOP3 地区的重点中标单位;
3、【全国】【弱电】项目金额 TOP3 地区的重点中标单位;
4、【全国】【弱电】项目数量 TOP3 客户类型的重点中标单位;
5、【全国】【弱电】项目金额 TOP3 客户类型的重点中标单位;
6、【全国】【弱电】细分市场的重点中标单位-项目数量;
7、【全国】【弱电】细分市场的重点中标单位-项目金额;
8、【全国】【弱电】采购单位采购规模分布;
9、【全国】【弱电】项目数量 TOP30 采购单位及其重点合作中标单位;
10、 【全国】【弱电】采购金额 TOP30 采购单位及其重点合作中标单位;
11、 【全国】【弱电】中标单位中标规模分布;
12、 【全国】【弱电】项目数量 TOP30 中标单位及其重点合作采购单位;
13、 【全国】【弱电】中标金额 TOP30 中标单位及其重点合作采购单位;
……
大会员市场分析报告支持按条件筛选,包括:时间、分析内容、数据匹配方式、项目地区、行业、 采购单位类型等。
剑鱼标讯可提供全国全行业的定制化市场分析报告,帮助您的市场决策和拓展!
如需获取更多项目领域分析报告,可咨询在线客服或联系剑鱼标讯客服 400-108-6670
客服热线
在线客服
客服企微
商务合作
关注剑鱼
下载App
回到顶部